Excel导入导出图片附件
简介
excel现在支持图片导入,同时也支持图片、手写签名、附件的导出。
导入
【数据管理】——【导入】——【选择文件】——【表单设置,图片控件选择导入】——【导入成功】

导入规则
- 图片字段(包括子表单中的图片字段)支持导入图片。
- 导入多张图片时,无需在【控件属性】——【校验】勾选【允许上传多张图片】。
- 图片必须在单元格内展示,图片左边溢出单元格则导入数据为空,图片向右溢出单元格可正常导入。
- 如果excel中的图片排版混乱(部分图片左边溢出单元格,部分图片右边溢出单元格),那么在导入时在【表单设置】页面会一直是加载的状态。
导出
操作方法:【数据管理】——【导出】——【选择[导出所有数据]或[导出筛选后的数据]】——【导出】,也可以【数据管理】——【勾选数据】——【导出】

- 如果导出字段勾选了图片附件类型字段,则需要选择【图片/附件导出的方式】再执行导出操作。
- 如果未勾选图片附件类型字段,可直接导出,图片/附件导出方式不影响导出结果。
图片/附件导出的方式
图片/附件导出的方式有以下三种方式:
(1)图片保存在excel文件中
-
导出文件为Excel文件,如果勾选了导出图片/手写签名字段,图片保存在Excel文件中,如下所示:
图片保存在excel文件中 
-
此方式导出数据时,附件无法导出。
(2)图片/附件保存在excel同级目录以zip格式导出
-
不带图片/手写签名/附件导出时,导出文件为Excel文件
-
带图片/手写签名/附件导出时,导出文件为zip包,包含Excel文件和图片附件文件夹,如下所示:
图片/附件保存在excel同级目录以zip格式导出 
(3)图片/附件使用超链接方式保存在excel(不计算上传流量)
-
导出文件为Excel文件,如果勾选了导出图片/手写签名/附件字段,图片/手写签名/附件字段会以超链接方式保存在Excel中,用户可以使用超链接下载附件。
图片/附件使用超链接方式保存在excel(不计算上传流量) 
-
此方式导出不计算上传流量。
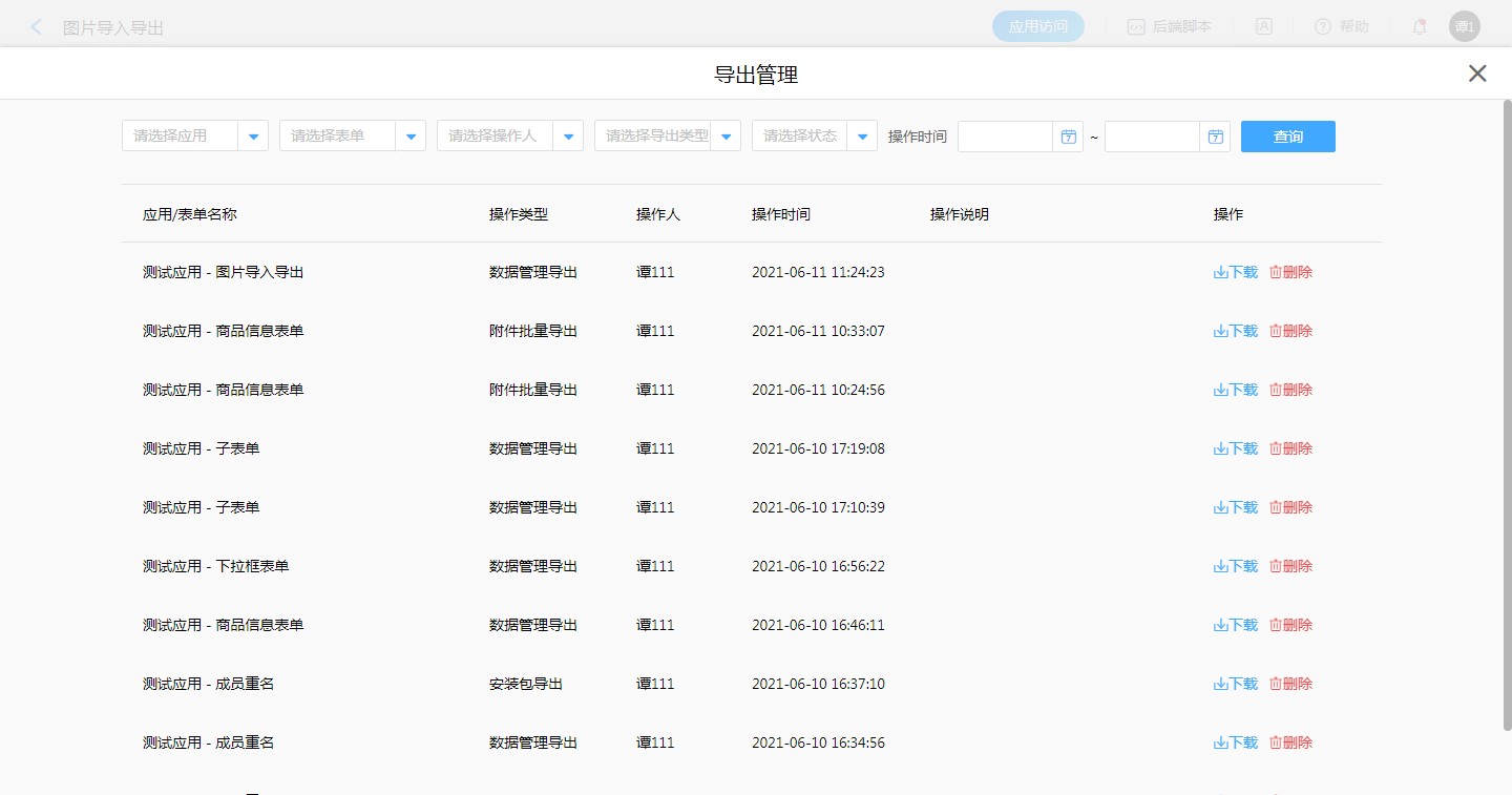
导出管理
导出管理里可以查询当前账号下各应用各表单的数据导出记录,可下载或删除导出记录,过期记录也可查询。

- 请选择应用:选择当前账号下的应用。
- 请选择表单:选择已导出数据的表单。
- 请选择操作人:选择操作导出数据的人员。
- 选择导出类型:选择数据管理导出、附件批量导出、新报表-数据表导出、新报表-透视图导出,即选择操作导出数据的地方
- 选择状态:即选择数据导出的状态,导出准备中、可下载、已过期、导出失败等。
- 操作时间:即操作导出时的时间。
注意:导出记录的下载链接只保留24小时,过时会显示已过期。`
