多表汇总分析运算
功能介绍
在日常工作中,经常会遇到多个表格的数据需要汇总,但是有时候每个表格的顺序、项目不一定完全相同,如何将多个工作表的数据汇总到一个工作表中并对这些数据进行求和或者其他运算呢?
速搭提供的数据视图就能轻松解决这个问题,数据视图可以对一个或多个表单进行数据合并、数据过滤筛选、数据排序、数据关联等操作,然后将处理结果输出为新的数据表。利用数据视图可以将多个数据列表中所包含的大量数据进行汇总并加以分析,从而提炼出有助于决策的信息。如:计算商品库存实现库存管理
![]() |
如何把多个表格汇总计算处理成这样的效果呢?一起来看看吧
1.创建1个数据视图,将多个表单的数据“添加至输入源”,可以在数据预览处查看已添加的表单数据。
如计算商品库存可以分别引入“入库”与“出库”两表的数据。
![]() |
![]() |
2.添加“过滤条件”,可以自定义设置固定内容为条件,用于筛选符合条件的数据传入数据视图使用。如筛选入库数量大于0的数据。
![]() |
3.进行”数据处理“,按所需计算方式拖拽左侧的数据处理方式。
|
-|

以根据商品名称,汇总入库数据和出库数量来计算库存为操作示例:
第一步:拖入分组汇总,根据“商品”相同数据分组,汇总“数量”求和。
![]() |
![]() |
第二步:将汇总数据横向连接,根据“商品”相同数据进行横向连接,把“入库”与“出库”数据横向拼接为一张表。
![]() |
第三步:拖入字段设置添加计算字段,无需复杂的函数,在弹出的编辑框拖拽即可轻松编辑计算公式,以便对传入的数据进行公式计算。即可通过“入库”总数与“出库”总数,计算出最新剩余库存。
![]() |
![]() |
第四步:连线输出节点,可以展示视图最终处理后的数据。此输出表也方便提供其他表联动调用或报表使用。
![]() |
![]() |
![]() |
这就是利用数据视图汇总多个工作表数据,可以轻松查询和管理这些数据。对比不同数据的差异,能以有效的数据支撑辅佐工作决策。
应用场景示例
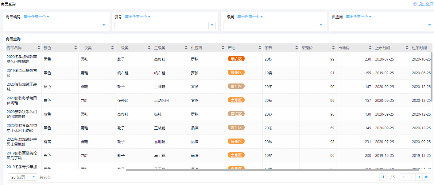
① 随时了解商品的明细、库存数量、供应商、订单走势等关键信息,帮助运营部门筛选优秀的商品进行经营
![]() |
② 帮助企业统计各项评价详情,综合各类标准筛选表现优异的员工
![]() |
③ 展现商品总体的月销售数据分析,帮助企业对下月的商品选品提供决策性的数据
![]() |
案例链接
点击下方链接可以跳转至官网进行实际效果操作演示















